豪迈科技获得发明专利授权:“一种轮胎硫化设备”

图片来源于网络,如有侵权,请联系删除
证券之星消息,根据天眼查APP数据显示豪迈科技(002595)新获得一项发明专利授权,专利名为“一种轮胎硫化设备”,专利申请号为CN202510899119.5,授权日为2025年11月7日。
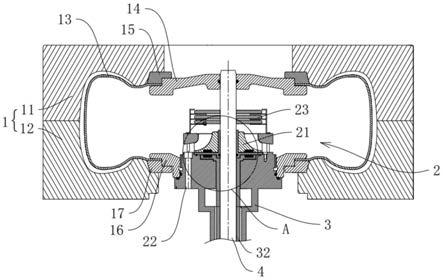
专利摘要:本申请涉及硫化装置技术领域,公开了一种轮胎硫化设备,包括硫化模具、硫化胶囊、支撑组件和中心杆,轮胎硫化设备还包括:加热装置,设置在硫化胶囊内,加热装置设置有多个加热通道,进风口设置于加热装置的轴向端部,多个加热通道沿加热装置的轴向排布;气体循环装置,设置在加热装置内,气体循环装置设置有多个位于气体介质的流动路径上的出风部,多个出风部沿气体循环装置的轴向排布;其中,多个出风部和多个加热通道相连通。本发明将气体循环装置布置在加热装置内,多个出风部和多个加热通道连通,使气体介质能够由不同的出风部导向不同的加热通道,实现对气体介质分流加热,从而提升对气体介质的加热效率,使硫化胶囊内腔升温速率提高。

图片来源于网络,如有侵权,请联系删除
今年以来豪迈科技新获得专利授权73个,较去年同期增加了14.06%。结合公司2025年中报财务数据,今年上半年公司在研发方面投入了2.85亿元,同比增43.73%。
通过天眼查大数据分析,山东豪迈机械科技股份有限公司共对外投资了13家企业,参与招投标项目1711次;财产线索方面有商标信息30条,专利信息1019条,著作权信息21条;此外企业还拥有行政许可91个。
数据来源:天眼查APP
以上内容为证券之星据公开信息整理,由AI算法生成(网信算备310104345710301240019号),不构成投资建议。
版权声明
本文仅代表作者观点,不代表xx立场。
本文系作者授权xxx发表,未经许可,不得转载。
